题目内容(试题来至安考100分)

【单选题】 场(厂)内专用机动车辆作业人员证( )年复审一次。

  1. A、 一年
  2. B、 二年
  3. C、 四年
参考答案:C

你可能需要的试题

1. 【单选题】 《中华人民共和国特种设备安全法》所称的县级以上地方特种设备安全监督管理部门在现行体制下是指( )。

  1. A、 安全生产监督管理部门
  2. B、 市场监督部门
  3. C、 交通部门
  4. D、 劳动部门

2. 【单选题】 车辆的速度变化时,对于车外环境的( )也发生变化。

  1. A、 物体状况
  2. B、 驾驶心情
  3. C、 判别能力
  4. D、 控制能力

3. 【单选题】 “注意安全”、“当心车辆”等这些适用于厂内交通运输的安全标志属于( )。

  1. A、 指示标志
  2. B、 警告标志
  3. C、 禁令标志
  4. D、 辅助标志

4. 【单选题】 汽油发动机压缩行程过程中,活塞从下止点向上止点运动,活塞上腔容积( ),混合气被压缩。

  1. A、 增大
  2. B、 不变
  3. C、 减小

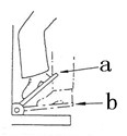
5. 【单选题】 常闭式制动器制动踏板广泛使用在站驾式场车中,下图中,制动踏板在( )位置时,制动器起制动作用?

  1. A、 a位置
  2. B、 b位置
  3. C、 a和b位置

安考100分

拍照搜题更方便

  • 拍照搜题
  • 拉新好礼
  • 顺序练题
  • 模拟考试
安考100分小程序

试题属性