题目内容(试题来至安考100分)

【单选题】 某公司有一批安全阀需要校验,就采用离线校验还是在线校验公司管理人员产生了就大的分歧。下列关于安全阀离线校验说法错误的是( )?

  1. A、解决常温介质和工作温度250℃以下的安全阀整定和检漏
  2. B、二氧化碳气体无毒不燃,可以作为介质源校验
  3. C、易燃、助燃或有毒有害介质不能作为介质源校验
  4. D、降低了劳动强度,减少能源消耗和减少工作危险性
参考答案:B

你可能需要的试题

1. 【单选题】 以下哪种铸铁用作安全阀阀瓣粗研磨最好( )?

  1. A、灰铸铁
  2. B、球磨铸铁
  3. C、可锻铸铁
  4. D、其他选项均可

2. 【单选题】 哪种方法对安全阀的密封性能要求最高( )?

  1. A、升压至密封压力不泄漏
  2. B、开启后降至密封压力不泄漏
  3. C、开启后卸掉压力再升至密封压力不泄漏
  4. D、其他选项均是

3. 【单选题】 安全阀采用升压实跳的在线校验方式时,能校验的项目( )。① 整定压力 ② 回座压力 ③ 密封压力 ④ 宏观检查

  1. A、① ④
  2. B、①②④
  3. C、①②③
  4. D、①②③④

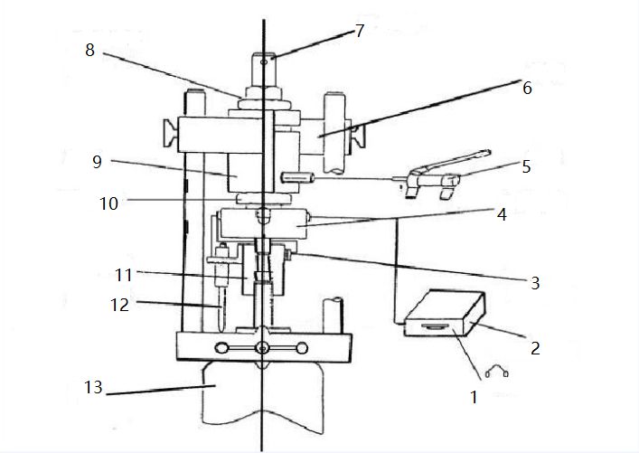
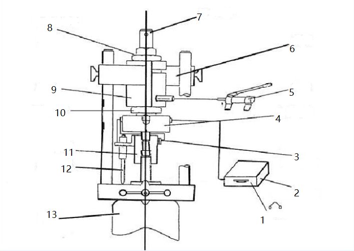
4. 【单选题】 下图为某公司安全阀在线调校仪结构图,图中“7”表示()?

  1. A、中心联杆
  2. B、限位—强关器
  3. C、螺纹千斤顶
  4. D、力传感器

5. 【单选题】 下图为某公司安全阀在线调校仪结构图,图中“11”表示()?

  1. A、联接螺母
  2. B、限位—强关器
  3. C、螺纹千斤顶
  4. D、力传感器

安考100分

拍照搜题更方便

  • 拍照搜题
  • 拉新好礼
  • 顺序练题
  • 模拟考试
安考100分小程序

试题属性