安考100分
助客兴科技
首页
在线练题
快速搜题
机构入驻
首页
试题详情
网友您好,请在
下方输入框内
输入要搜索的题目:
查询
题目内容
(试题来至安考100分)
【单选题】
下图所示锅炉型式为双横锅筒链条炉排锅炉。()
A、正确
B、错误
参考答案:
A
你可能需要的试题
1.
【单选题】
锅炉水位计冲洗图,冲洗顺序是()。
A、开下→关中→开中→关上→开上→关下
B、开下→关上→开上→关中→开中→关下
C、开下→关中→关上→开中→开上→关下
D、开下→关上→关中→开上→开中→关下
点击查看答案
2.
【单选题】
下图是阀门传动中常用的什么机构?()
A、蜗杆机构
B、蜗轮机构
C、蜗杆-蜗轮机构
D、齿轮机构
点击查看答案
3.
【单选题】
下图为单回路的自然循环示意图,其中部件1为()。
A、上升管
B、给水管
C、下降管
D、下集箱
点击查看答案
4.
【单选题】
下图为单回路的自然循环示意图,其中部件2为()。
A、上升管
B、给水管
C、下降管
D、锅筒
点击查看答案
5.
【单选题】
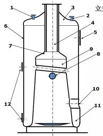
下图为立式横水管锅炉示意图,其中部件5为()。
A、人孔
B、冲天管
C、锅壳
D、封头
点击查看答案
用
安考100分
拍照搜题更方便
拍照搜题
拉新好礼
顺序练题
模拟考试
试题属性
试题分类:
G锅炉作业->G1工业锅炉司炉(点击去练题)
试题总数:
1907(道)
考试信息:
满分:100分 及格:100分 时长:60分钟
更新日期:
2024-06-04 14:23:06
题库推文
免费领取安考100分30日题库VIP
题库合作,欢迎机构入驻
推荐一款安全考试题库软件
2023年焊工考试技巧
成都开发考试题库微信小程序多少钱?
开发一个安全考试题库小程序需要些什么?
拍照搜题找答案推荐这款软件
2023年湖南省安全考试题库-国家题库
2023年低压电工考试题库-国家题库