题目内容(试题来至安考100分)

【多选题】 《中华人民共和国特种设备安全法》规定,特种设备生产、经营、使用单位应当按照国家有关规定配备特种设备( ),并对其进行必要的安全教育和技能培训。

  1. A、安全管理人员
  2. B、检测人员
  3. C、检验人员
  4. D、作业人员
参考答案:ABD

你可能需要的试题

1. 【单选题】 根据《特种设备安全法》第一条 为了加强特种设备安全工作,( )特种设备事故,保障人身和财产安全,促进经济社会发展,制定本法。

  1. A、杜绝
  2. B、防止
  3. C、减少
  4. D、预防

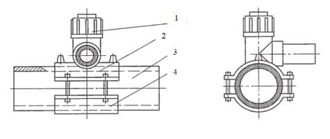
2. 【单选题】 下图是管材与鞍形旁通焊接试件,箭头3指的是什么?( )。

  1. A、鞍形旁通主体
  2. B、管材
  3. C、鞍形底托
  4. D、密封帽

3. 【单选题】 高密度聚乙烯的密度范围在( )。

  1. A、0.910~0.925g/cm3
  2. B、0.926~0.940g/cm3
  3. C、0.941~0.965 g/cm3
  4. D、0.966~0.980g/cm3

4. 【单选题】 TSG 08-2017《特种设备使用管理规则》规定特种设备安全管理负责人是指使用单位( )本单位特种设备使用安全管理的人员。

  1. A、管理层中主持
  2. B、中层管理干部负责
  3. C、最高管理层中主管
  4. D、管理者代表负责

5. 【单选题】 燃气聚乙烯管道( )穿越供热管沟。

  1. A、可以
  2. B、不应
  3. C、不宜
  4. D、严禁

安考100分

拍照搜题更方便

  • 拍照搜题
  • 拉新好礼
  • 顺序练题
  • 模拟考试
安考100分小程序

试题属性