题目内容(试题来至安考100分)

【单选题】 定期排污应在()进行。

  1. A、高负荷,高水位
  2. B、低负荷,高水位
  3. C、高负荷,低水位
  4. D、低负荷,低水位
参考答案:B

你可能需要的试题

1. 【单选题】 热水锅炉停止运行时不应当立即停泵。如果锅炉发生汽化需要重新启动时,启动前应()。

  1. A、先开动循环水泵,后提高炉温
  2. B、先提高炉温,后开动循环水泵
  3. C、先放汽补水,再启动循环水泵
  4. D、先启动循环水泵,再放汽补水

2. 【单选题】 《中华人民共和国节约能源法》规定,节能宣传的目的是通过宣传,提高全民的()和节约意识,增强节能的紧迫感和责任感,使节能变成每个人的自觉行动,动员全社会加快建设节约型社会。

  1. A、能源忧患意识
  2. B、环境意识
  3. C、节能意识
  4. D、环保意识

3. 【单选题】 根据《特种设备安全法》第五十一条 特种设备检验、检测机构的检验、检测人员应当经( ),取得检验、检测人员资格,方可从事检验、检测工作。

  1. A、考核
  2. B、培训
  3. C、培训和考核
  4. D、批准

4. 【单选题】 可燃气体与空气混合时的爆炸下限越低,则危险程度越()。

  1. A、低
  2. B、高
  3. C、不受限制
  4. D、没有影响

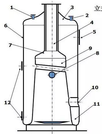
5. 【单选题】 下图为立式横水管锅炉示意图,其中部件4为()。

  1. A、人孔
  2. B、冲天管
  3. C、锅壳
  4. D、封头

安考100分

拍照搜题更方便

  • 拍照搜题
  • 拉新好礼
  • 顺序练题
  • 模拟考试
安考100分小程序

试题属性