安考100分
助客兴科技
首页
在线练题
快速搜题
机构入驻
首页
试题详情
网友您好,请在
下方输入框内
输入要搜索的题目:
查询
题目内容
(试题来至安考100分)
【判断题】
将燃烧后的烟气排到炉外空中的过程叫引风。()
A、
正确
B、
错误
参考答案:
A
你可能需要的试题
1.
【判断题】
降低锅炉含盐量的主要方法:①提高给水品质。②增加排污量。③分段蒸发。()
A、
正确
B、
错误
点击查看答案
2.
【判断题】
紧急停炉操作,首先要立即停止给媒.停止送风和引风机。()
A、
正确
B、
错误
点击查看答案
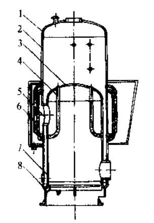
3.
【单选题】
请标出图片中部位4的名称()
A、上锅筒
B、下锅筒
C、对流管束
D、人孔
点击查看答案
4.
【单选题】
下图锅炉中不含哪个锅炉部件?()
A、锅筒
B、集箱
C、受热面管
D、炉胆
点击查看答案
5.
【单选题】
下图所示锅炉型式为立式弯水管锅炉。()
A、正确
B、错误
点击查看答案
用
安考100分
拍照搜题更方便
拍照搜题
拉新好礼
顺序练题
模拟考试
试题属性
试题分类:
G锅炉作业->G1工业锅炉司炉(点击去练题)
试题总数:
1907(道)
考试信息:
满分:100分 及格:100分 时长:60分钟
更新日期:
2024-06-04 14:23:06
题库推文
免费领取安考100分30日题库VIP
题库合作,欢迎机构入驻
推荐一款安全考试题库软件
2023年焊工考试技巧
成都开发考试题库微信小程序多少钱?
开发一个安全考试题库小程序需要些什么?
拍照搜题找答案推荐这款软件
2023年湖南省安全考试题库-国家题库
2023年低压电工考试题库-国家题库