题目内容(试题来至安考100分)

【单选题】 某锅炉在正常工况下发生爆炸,该锅炉连续运行30年,于4个月前进行过检修。经查,该锅炉发生爆炸,实际上是1根水冷壁因腐蚀壁厚减薄而炸断,断口处位于直段和弯管的交界线上,断口处管径没有明显增大,但断口十分锋利,整个断口呈菱形状,还有撕裂口,管壁减薄十分明显,管壁腐蚀段减薄量均匀。检修时对该管段进行哪种检测可避免此次事故的发生()。

  1. A、射线检测
  2. B、渗透检测
  3. C、测厚检测
  4. D、目视检查
参考答案:C

你可能需要的试题

1. 【单选题】 某锅炉在正常工况下发生爆炸,该锅炉连续运行30年,于4个月前进行过检修。经查,该锅炉发生爆炸,实际上是1根水冷壁因腐蚀壁厚减薄而炸断,断口处位于直段和弯管的交界线上,断口处管径没有明显增大,但断口十分锋利,整个断口呈菱形状,还有撕裂口,管壁减薄十分明显,管壁腐蚀段减薄量均匀。对于炉龄较长的锅炉以及无法进入内部或外部检查的小型锅炉,检查过程中应及时追加水压试验()。

  1. A、正确
  2. B、错误

2. 【单选题】 某化工厂一台锅炉自投用以来共5年8个月,因生产和其他原因经常降负荷运行,压火甚至停炉。运行记录显示一年内停炉达103次,换炉排压火达45次,降负荷运行次数达69次之多。经检查发现上锅筒内壁再循环管口处附近锅筒纵向偏下有9条裂纹,最长为70mm,最深为25mm。问该锅炉的操作造成的裂纹属于()。

  1. A、应力腐蚀裂纹
  2. B、腐蚀裂纹
  3. C、热疲劳裂纹
  4. D、苛性脆化裂纹

3. 【多选题】 某锅炉发生爆炸,造成4人死亡。经查该锅炉为购入后自行安装投用,锅炉无任何技术资料及铭牌,出厂时间.制造单位以及额定参数等技术不明。事故原因分析发现,锅炉没有给水软化措施,锅炉安全阀未进行定压,同时锅炉下脚圈腐蚀严重。问预防同类事故的措施有()。

  1. A、有关部门加强监察力度,取缔非法安装使用未经检验合格的锅炉
  2. B、对司炉人员进行培训,持证上岗
  3. C、加强水处理工作
  4. D、安全附件必须经过整定,定期检验等

4. 【多选题】 某公司发生一起常压锅炉炉膛爆炸事故,造成1人死亡,1人重伤,直接经济损失20万元。由于锅炉系统管道出现质量问题,该公司派员工自己进行更换管道,更换管道前维修工将锅炉压火,在锅炉房施工时,锅炉炉膛发生爆炸。由于火没有压住,致使煤中大量可燃性挥发分析出并聚集在炉膛中,由于炉温逐渐升高,导致挥发分着火并放出大量热能。管道检修时的正确操作是()。

  1. A、直接检修,锅炉照常运行
  2. B、采取旁路措施,使锅炉水正常循环
  3. C、必要时应当停炉检修
  4. D、带压操作

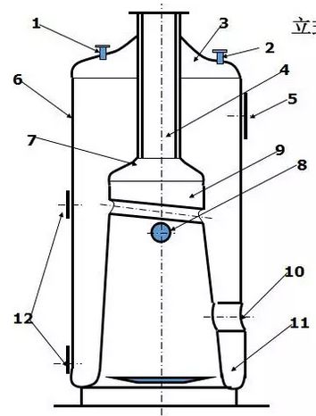
5. 【单选题】 下图为立式横水管锅炉示意图,其中部件11为()。

  1. A、下脚圈
  2. B、手孔
  3. C、横水管
  4. D、炉门

安考100分

拍照搜题更方便

  • 拍照搜题
  • 拉新好礼
  • 顺序练题
  • 模拟考试
安考100分小程序

试题属性