安考100分
助客兴科技
首页
在线练题
快速搜题
机构入驻
首页
试题详情
网友您好,请在
下方输入框内
输入要搜索的题目:
查询
题目内容
(试题来至安考100分)
【单选题】
下图属于哪一种钢丝绳端部固定方法?( )
A、巴氏合金固定
B、绳夹固定
C、楔块固定
D、桃形环绳箍
参考答案:
D
你可能需要的试题
1.
【单选题】
下图中仪表的示值为( )。
A、50mA
B、50A
C、60A
D、60mA
点击查看答案
2.
【单选题】
如图所示,游乐设施高度超过( )m以上时,应设置该仪器。
A、10
B、20
C、30
D、40
点击查看答案
3.
【单选题】
某游乐设备运转示意图如下所示,该设备属于( )游乐设施。
A、陀螺类
B、小火车类
C、自控飞机类
D、观览车类
点击查看答案
4.
【单选题】
图中属于水上游乐设施中的哪一品种?( )
A、游乐池
B、水滑梯系列
C、碰碰船系列
D、峡谷漂流系列
点击查看答案
5.
【单选题】
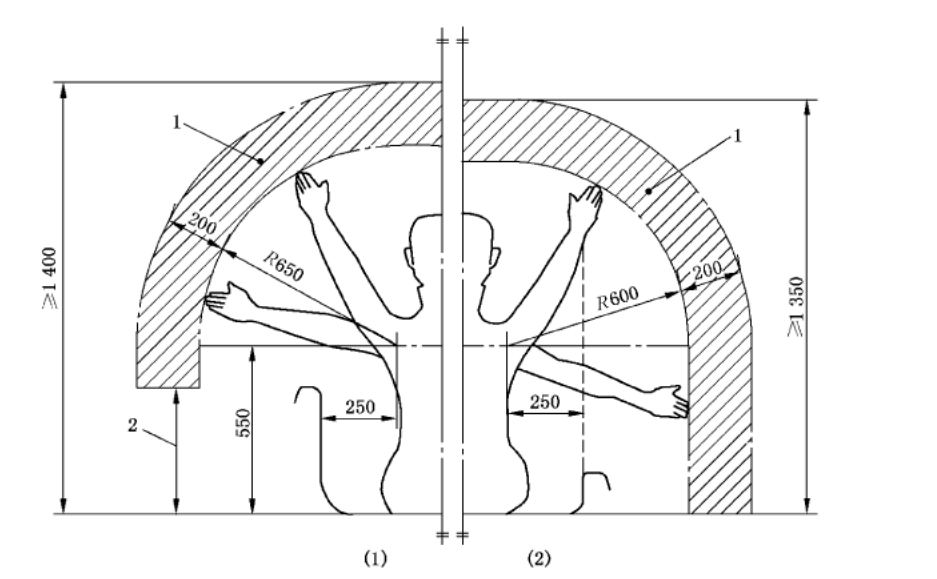
水上游乐设备中,()的净空区域及尺寸,按图所示。
A、水滑道
B、游乐池
C、游船
D、峡谷漂流
点击查看答案
用
安考100分
拍照搜题更方便
拍照搜题
拉新好礼
顺序练题
模拟考试
试题属性
试题分类:
Y大型游乐设施->(Y2)大型游乐设施操作(点击去练题)
试题总数:
2025(道)
考试信息:
满分:100分 及格:100分 时长:60分钟
更新日期:
2023-05-04 15:45:30
题库推文
免费领取安考100分30日题库VIP
题库合作,欢迎机构入驻
推荐一款安全考试题库软件
2023年焊工考试技巧
成都开发考试题库微信小程序多少钱?
开发一个安全考试题库小程序需要些什么?
拍照搜题找答案推荐这款软件
2023年湖南省安全考试题库-国家题库
2023年低压电工考试题库-国家题库