题目内容(试题来至安考100分)

【单选题】 安全管理员组织开展特种设备定期 ( )检查。

  1. A、自行
  2. B、安全
  3. C、运行
  4. D、维保
参考答案:A

这道题考察的是特种设备管理中检查类型的区分。题目中明确提到是安全管理员“组织开展”的检查,关键点在于“自行”。这里的“自行检查”指的是使用单位(如企业)按照法规要求,由自己的人员(如安全管理员)主动进行的检查,属于日常管理的一部分,不需要外部机构参与。其他选项如“安全”“运行”“维保”虽然与设备管理相关,但无法准确对应“由使用单位主动组织”这一行为特点。例如,“维保检查”通常由专业维保单位执行,而非使用单位自行完成。因此选择“自行”最贴切题意。【参考解析】

你可能需要的试题

1. 【单选题】 下图中压力表的指示值是()

  1. A、0.5Pa
  2. B、1.0Pa
  3. C、1.0MPa
  4. D、0.5MPa

2. 【单选题】 下图是锅炉的什么部件?()

  1. A、水位计
  2. B、集箱
  3. C、布风板
  4. D、汽水分离器

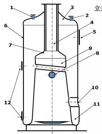
3. 【单选题】 下图为立式横水管锅炉示意图,其中部件12为()。

  1. A、下脚圈
  2. B、手孔
  3. C、横水管
  4. D、炉门

4. 【单选题】 热水锅炉锅筒(壳)及每个循环回路下集箱的()应当装设排污阀或者放水阀。

  1. A、所有位置
  2. B、侧面
  3. C、最高处
  4. D、最低处

5. 【单选题】 燃油炉尾部受热面最易采用除灰方法是()。

  1. A、压力吹灰
  2. B、蒸汽吹灰
  3. C、钢珠除灰
  4. D、机械吹灰

安考100分

拍照搜题更方便

  • 拍照搜题
  • 拉新好礼
  • 顺序练题
  • 模拟考试
安考100分小程序

试题属性