题目内容(试题来至安考100分)

【单选题】 《特种设备安全法》所称特种设备是指涉及生命安全、危险性较大的锅炉、压力容器(含气瓶,下同)、压力管道、电梯、起重机械、( )、大型游乐设施和场(厂)内专用机动车辆。

  1. A、客运索道
  2. B、索道
  3. C、溜索
  4. D、高空索道
参考答案:A

你可能需要的试题

1. 【单选题】 链条炉排老鹰铁位于炉排的()。

  1. A、前部
  2. B、后部
  3. C、中部
  4. D、上部

2. 【单选题】 每只锅炉至少应装设二只安全阀(不包括省煤器上安全阀),下列哪些情况之一的,可只装一只安全阀()。

  1. A、额定蒸发量小于或等手0.5T/h的锅炉
  2. B、额定蒸发量小于或等于1T/h的锅炉
  3. C、额定蒸发量小于4T/h的锅炉
  4. D、额定蒸发量小干2T/h的锅炉

3. 【单选题】 TSG 08-2017《特种设备使用管理规则》规定办理使用登记的直辖市或者设区的市的特种设备安全监管部门,可以委托其( )办理使用登记。

  1. A、同级检验机构
  2. B、检验协会
  3. C、下一级特种设备安全监管部门
  4. D、下级检验机构

4. 【单选题】 DZL型锅炉为()。

  1. A、单锅筒纵置式链条炉排锅炉
  2. B、立式直水管锅炉
  3. C、双锅简弯水管锅炉
  4. D、火管锅炉

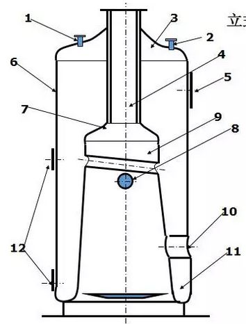
5. 【单选题】 下图为立式横水管锅炉示意图,其中部件9为()。

  1. A、炉胆顶
  2. B、炉胆
  3. C、横水管
  4. D、炉门

安考100分

拍照搜题更方便

  • 拍照搜题
  • 拉新好礼
  • 顺序练题
  • 模拟考试
安考100分小程序

试题属性