题目内容(试题来至安考100分)

【多选题】 某年某月某日,某化工厂储运部在进行液氯的充装时,由于操作人员的擅离职守,造成罐体超压变形。事故调查发现,安全阀、压力表均未标明有效期,无爆破片装置,下列关于事故叙述正确的是( )?

  1. A、安全阀校验周期为一年
  2. B、压力表校验周期为六个月
  3. C、罐体应当设置安全阀与爆破片串联组合装置
  4. D、罐体应当设置安全阀与爆破片并联组合装置
参考答案:ABC

你可能需要的试题

1. 【单选题】 液体安全阀进出口的公称通径至少是()。

  1. A、10mm
  2. B、15mm
  3. C、20mm
  4. D、25mm

2. 【多选题】 某年某月某日,某热电厂发生4号670t/h锅炉超温超压事故。4号机组由于直流控制电源总熔丝熔断,造成直流操作电源消失,4号机组跳闸,汽轮机主汽门关闭,因“机跳炉”联锁未投入运行,机组甩负荷后燃料没有联动切断。运行人员在事故处理中,当手动开启脉冲式安全阀锅炉压力不降时(四个主蒸汽系统的安全阀解列(拒动)),没有按规程果断切断制粉系统,致使锅炉承压部件超温、超压。下列关于事故原因分析正确的是( )?

  1. A、电站锅炉安全阀每年至少应校验一次
  2. B、大容量的电站锅炉应配用弹簧直接作用式的全启式安全阀
  3. C、为保证电站锅炉安全阀在一定值下能够准确动作,要求电站锅炉安全阀进行热态整定
  4. D、锅炉安全阀是防止锅炉超压的重要安全附件,严禁锅炉在解列安全阀状况下运行

3. 【单选题】 在一般的安全阀离线校验台上,不能进行校验的项目是( )。

  1. A、密封压力
  2. B、整定压力
  3. C、开启压力
  4. D、排放压力

4. 【单选题】 利用化学反应的方法使弹簧表面生成一层致密的保护膜,以防止弹簧腐蚀,通常利用磷化处理和( )。

  1. A、表面防腐处理
  2. B、镀锌处理
  3. C、镀镉处理
  4. D、氧化处理

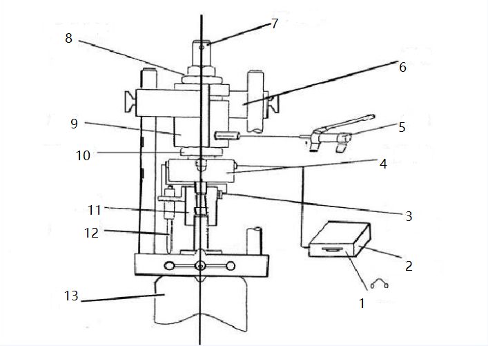
5. 【单选题】 下图为某公司安全阀在线调校仪结构图,图中“2”表示()?

  1. A、主机
  2. B、数据处理器
  3. C、操作箱
  4. D、装配箱

安考100分

拍照搜题更方便

  • 拍照搜题
  • 拉新好礼
  • 顺序练题
  • 模拟考试
安考100分小程序

试题属性