题目内容(试题来至安考100分)

【单选题】 已知一只安全阀采用在线定压仪校验,安全阀的入口压力为1.6MPa时,拉开定压至整定压力,此时附加提升力为3500N;在其入口压力1.8MPa时,拉开定压至整定压力,此时附加提升力为2495N,请计算此时安全阀的整定压力是( )?密封面的有效直径是( )?

  1. A、整定压力2.3MPa,密封面有效直径50mm
  2. B、整定压力2.5MPa,密封面有效直径50mm
  3. C、整定压力2.3MPa,密封面有效直径80mm
  4. D、整定压力2.3MPa,密封面有效直径80mm
参考答案:C

你可能需要的试题

1. 【单选题】 按国家标准设计、制造的安全阀,其公称通径与阀门的流道直径存在一定的对应关系。型号A48Y-40 DN80的安全阀流道直径是()。

  1. A、80
  2. B、65
  3. C、50
  4. D、40

2. 【单选题】 蒸汽 和液体使用的安全阀需要低于阀座密封面的集液最低部位设置排泄口,公称通径大于65mm的安全阀,其排泄孔直径不得小于( )mm。

  1. A、10.0
  2. B、9.5
  3. C、8.0
  4. D、6.5

3. 【单选题】 下图为先导式安全阀结构图,图中“20”表示()?

  1. A、调整螺钉
  2. B、弹簧座
  3. C、压块
  4. D、阀座

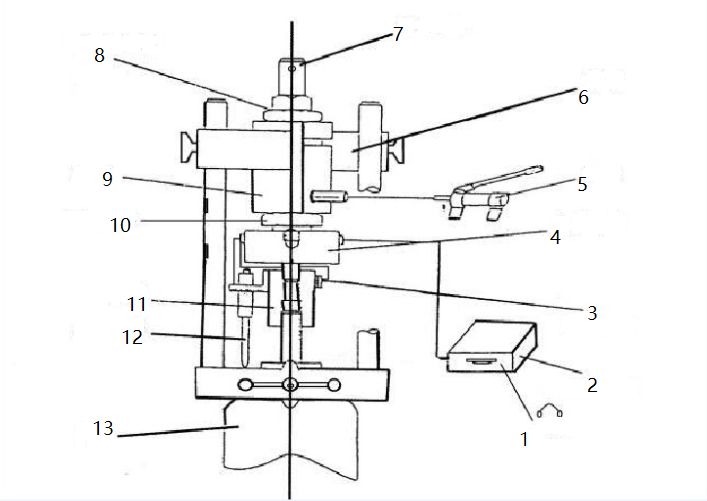
4. 【单选题】 下图为某公司安全阀在线调校仪结构图,图中“10”表示()?

  1. A、油缸
  2. B、限位—强关器
  3. C、螺纹千斤顶
  4. D、力传感器

5. 【单选题】 弹簧载荷式安全阀的动作基于力的平衡,当进口压力等于安全阀整定压力是,弹簧力预先设定到( )进口介质作用在关闭阀瓣上的力。当进口压力( )整定压力时,阀瓣仍旧坐在阀座上处于关闭位置。当进口压力( )整定压力时,作用在阀瓣上的力克服弹簧力,使阀瓣开启。当进口压力降低到低于整定压力的某个值时,安全阀再次关闭回座。

  1. A、大于,低于,高于
  2. B、小于,低于,高于
  3. C、等于,高于,低于
  4. D、等于,低于,高于

安考100分

拍照搜题更方便

  • 拍照搜题
  • 拉新好礼
  • 顺序练题
  • 模拟考试
安考100分小程序

试题属性