题目内容(试题来至安考100分)

【单选题】 按《特种设备安全监察条例》:县级以上地方人民政府应当督促、支持特种设备安全监督管理部门依法履行安全监察职责,对特种设备安全监察中存在的( )及时予以协调、解决。

  1. A、事故
  2. B、重大问题
  3. C、一般问题
  4. D、问题
参考答案:B

你可能需要的试题

1. 【单选题】 作业项目为安全阀校验的《特种设备安全管理和作业人员证》代号为( )。

  1. A、F1
  2. B、F2
  3. C、F3
  4. D、F

2. 【单选题】 水的临界状态是指()。

  1. A、压力18.129MPa,温度174.15℃
  2. B、压力20.129MPa,温度274.15℃
  3. C、压力22.129Mpa,温度374.15℃
  4. D、压力24.129Mpa,温度474.15℃

3. 【单选题】 按《特种设备安全监察条例》第八条 国家()特种设备节能技术的研究、开发、示范和推广,促进特种设备节能技术创新和应用。

  1. A、鼓励
  2. B、禁止
  3. C、支持
  4. D、推行

4. 【单选题】 《高耗能特种设备节能监督管理办法》实施日期为( )。

  1. A、2009年01月01日
  2. B、2009年06月01日
  3. C、2009年09月01日
  4. D、2009年10月01日

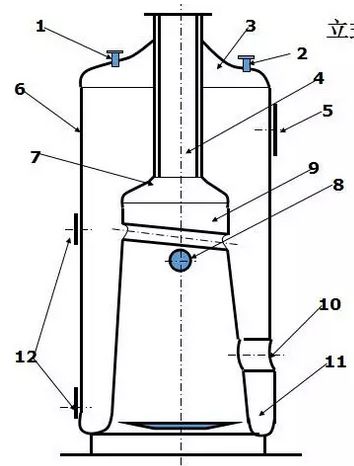
5. 【单选题】 下图为立式横水管锅炉示意图,其中部件3为()。

  1. A、人孔
  2. B、冲天管
  3. C、锅壳
  4. D、封头

安考100分

拍照搜题更方便

  • 拍照搜题
  • 拉新好礼
  • 顺序练题
  • 模拟考试
安考100分小程序

试题属性