题目内容(试题来至安考100分)

【判断题】 使用单位应采购、使用取得许可生产,并且经检验合格的特种设备,不得采购超过设计使用年限的特种设备,禁止使用国家明令淘汰和已经报废的特种设备。

  1. A、正确
  2. B、错误
参考答案:A

题目中的规定符合特种设备安全管理的基本要求。根据相关法规,使用单位必须采购合法生产且检验合格的特种设备,确保安全性能。超过设计年限的设备可能存在隐患,禁止采购;国家淘汰或报废的设备因安全风险大,也明确不得使用。这些规定均是为了保障人员和财产安全,符合法律要求,因此描述是正确的。【参考解析】

你可能需要的试题

1. 【单选题】 根据《特种设备安全法》第八十一条规定,特种设备生产单位( )国家明令淘汰的特种设备的,可处三万元以上三十万元以下罚款;有违法所得的,没收违法所得。

  1. A、生产
  2. B、销售
  3. C、交付
  4. D、其他选项皆是

2. 【单选题】 夏季行车时,如遇冷却水沸腾时( )。

  1. A、应立即停车加入冷却水,
  2. B、不可停车,要减速慢行
  3. C、应选择适当地点停车,发动机怠速运转数分钟,然后加入冷却水,注意保护措施防止热水烫伤。

3. 【单选题】 根据以下的叉车仪表选择对应的名称?

  1. A、左转向指示灯
  2. B、计表时
  3. C、发动机正常工作时,水温在80-96度
  4. D、此指示灯常亮机油压力低

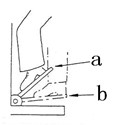
4. 【单选题】 常闭式制动器制动踏板广泛使用在站驾式场车中,下图中,制动踏板在( )位置时,制动器起制动作用?

  1. A、a位置
  2. B、b位置
  3. C、a和b位置

5. 【单选题】 图:表示的含义是( )。

  1. A、限制速度
  2. B、限制高度
  3. C、限制质量

安考100分

拍照搜题更方便

  • 拍照搜题
  • 拉新好礼
  • 顺序练题
  • 模拟考试
安考100分小程序

试题属性