题目内容(试题来至安考100分)

【单选题】 以下关于安全阀额定排量说法错误的是()。

  1. A、安全阀实际排量乘以减低系数(0.9)
  2. B、理论排量乘以排量系数,再乘以减低系数(0.9)
  3. C、理论排量乘以额定排量系数
  4. D、额定排量就是安全阀实际排量
参考答案:D

你可能需要的试题

1. 【判断题】 排放管的设计和布置对安全阀有很大的影响,排放管设计和布置不合理会引起应力并传至安全阀、进口管道乃至被保护设备。( )

  1. A、正确
  2. B、错误

2. 【单选题】 在低于安全阀阀座密封面的集液最低部位设置排泄孔的目的是()。

  1. A、考虑介质沉积污垢的影响,定期排泄沉积污垢
  2. B、定期排放蒸汽
  3. C、保证安全阀超压起跳
  4. D、考虑介质温度的影响

3. 【判断题】 所有相关管道的安装方式应避免对安全阀产生过大的应力,以防导致阀门变形和泄漏。( )

  1. A、正确
  2. B、错误

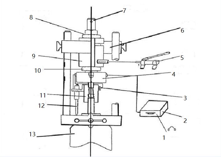
4. 【单选题】 下图为某公司安全阀在线调校仪结构图,图中“12”表示()?

  1. A、联接螺母
  2. B、触点探针
  3. C、螺纹千斤顶
  4. D、拾音探头

5. 【判断题】 安全阀安装于一个进口支管上时,该支管的通道最小截面积应不小于安全阀进口截面积。( )

  1. A、正确
  2. B、错误

安考100分

拍照搜题更方便

  • 拍照搜题
  • 拉新好礼
  • 顺序练题
  • 模拟考试
安考100分小程序

试题属性