题目内容(试题来至安考100分)

【单选题】 安全阀性能试验时以下哪种介质不能用于试验 ()。

  1. A、空气
  2. B、蒸汽
  3. C、天然气
  4. D、水
参考答案:C

你可能需要的试题

1. 【判断题】 《中华人民共和国特种设备安全法》规定,负责特种设备安全监督管理的部门应当加强特种设备质量宣传教育,普及特种设备质量知识,增强社会公众的特种设备质量意识。( )

  1. A、正确
  2. B、错误

2. 【判断题】 《特种设备安全监察条例》规定:特种设备的安全管理人员应当对特种设备使用状况进行经常性检查,发现问题的应当立即处理;情况紧急时,可以决定停止使用特种设备并及时报告本单位有关负责人。( )

  1. A、正确
  2. B、错误

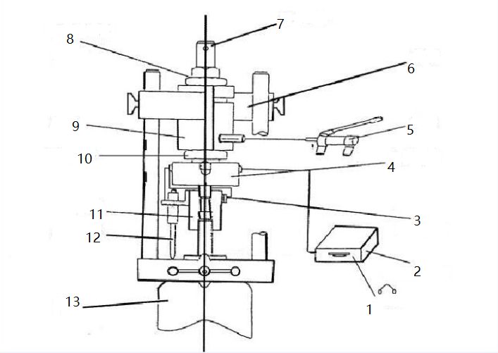
3. 【单选题】 下图为某公司安全阀在线调校仪结构图,图中“1”表示()?

  1. A、耳机
  2. B、话筒
  3. C、鼠标
  4. D、数据线

4. 【判断题】 根据《特种设备安全监察条例》预防和调查处理规定:特种设备事故造成3人以上10人以下死亡,或者10人以上50人以下重伤,或者1000万元以上5000万元以下直接经济损失的为较大事故。

  1. A、正确
  2. B、错误

5. 【单选题】 下图为安全阀的安装示意图,其安装位置是否正确()?

  1. A、正确
  2. B、错误

安考100分

拍照搜题更方便

  • 拍照搜题
  • 拉新好礼
  • 顺序练题
  • 模拟考试
安考100分小程序

试题属性