题目内容(试题来至安考100分)

【单选题】 对于没有过热器的蒸汽锅炉水垢厚度达到或超过()时,应进行化学清洗。

  1. A、0.5mm
  2. B、1mm
  3. C、2mm
  4. D、3mm
参考答案:B

对于没有过热器的蒸汽锅炉,当水垢堆积到一定厚度时,传热效率会大幅下降,导致锅炉金属部件过热,增加能耗和安全隐患。若水垢过厚(如超过1毫米),热量无法有效传递,可能引发金属变形或损坏。因此,行业标准规定此时需进行化学清洗,及时清除水垢,保障锅炉的安全和高效运行。其他选项的厚度要么风险过高,要么标准过严,1毫米是合理平衡点。【参考解析】

你可能需要的试题

1. 【单选题】 在锅炉房设计选用锅炉时,根据()确定锅炉容量,避免“大马拉小车现象”。

  1. A、最大热负荷
  2. B、平均热负荷
  3. C、供热量
  4. D、用气量

2. 【单选题】 锅炉操作人员操作证的有效期是()。

  1. A、1年
  2. B、2年
  3. C、3年
  4. D、4年

3. 【单选题】 汽水共腾时,水位表内水位()。

  1. A、静止不动
  2. B、看不到水位
  3. C、剧烈波动
  4. D、轻微波动

4. 【单选题】 GB13271-2014《锅炉大气污染物排放标准》规定新建锅炉房的烟囱周围半径200m距离内有建筑物时,其烟囱应高出最高建筑物()以上。

  1. A、1m
  2. B、2m
  3. C、3m
  4. D、4m

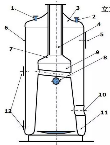
5. 【单选题】 下图为立式横水管锅炉示意图,其中部件7为()。

  1. A、炉胆顶
  2. B、炉胆
  3. C、横水管
  4. D、炉门

安考100分

拍照搜题更方便

  • 拍照搜题
  • 拉新好礼
  • 顺序练题
  • 模拟考试
安考100分小程序

试题属性