题目内容(试题来至安考100分)

【单选题】 安全阀的进口管道直径不小于安全阀的进口直径,如果几个安全阀共用一条进口管道时,进口管道的截面积()所有安全阀的进口截面积总和。

  1. A、大于
  2. B、小于
  3. C、大于或等于
  4. D、小于或等于
参考答案:C

你可能需要的试题

1. 【单选题】 全启式安全阀的开启高度大于等于流道直径的()。

  1. A、1/20
  2. B、1/10
  3. C、1/4
  4. D、1/40

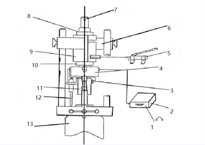
2. 【单选题】 下图为某公司安全阀在线调校仪结构图,图中“13”表示()?

  1. A、中心联杆
  2. B、力传感器
  3. C、螺纹千斤顶
  4. D、阀体

3. 【单选题】 对于波纹管平衡式安全阀,其波纹管元件的有效直径应( )安全阀关闭件密封面平均直径。

  1. A、大于
  2. B、等于
  3. C、小于
  4. D、大于或等于

4. 【单选题】 某安全阀校验机构校验人员小王在装配一只弹簧式安全阀时,误将一只弹簧压力级别较低的弹簧装入安全阀,由此可能造成安全阀的回座压力( )、排放压力( )?

  1. A、回座压力升高,排放压力升高
  2. B、回座压力升高,排放压力降低
  3. C、回座压力降低,排放压力升高
  4. D、回座压力降低,排放压力降低

5. 【单选题】 安全阀整定压力偏差是指()。

  1. A、安全阀开启时压力与整定压力的差值
  2. B、安全阀多次开启,其整定压力的偏差值
  3. C、安全阀回座时压力与整定压力的差值
  4. D、安全阀持续排放时的压力与整定压力的差值

安考100分

拍照搜题更方便

  • 拍照搜题
  • 拉新好礼
  • 顺序练题
  • 模拟考试
安考100分小程序

试题属性