安考100分
助客兴科技
首页
在线练题
快速搜题
机构入驻
首页
试题详情
网友您好,请在
下方输入框内
输入要搜索的题目:
查询
题目内容
(试题来至安考100分)
【单选题】
图为弹簧式安全阀的载荷示意图,当测试安全阀密封压力时()?
A、Fd≥PoS
B、Fd>PoS
C、Fd≤PoS
D、Fd<PoS
参考答案:
B
你可能需要的试题
1.
【判断题】
对于工作压力值>90%整定压力,而≤95%整定压力时,可以选用弹簧载荷式安全阀。( )
A、
正确
B、
错误
点击查看答案
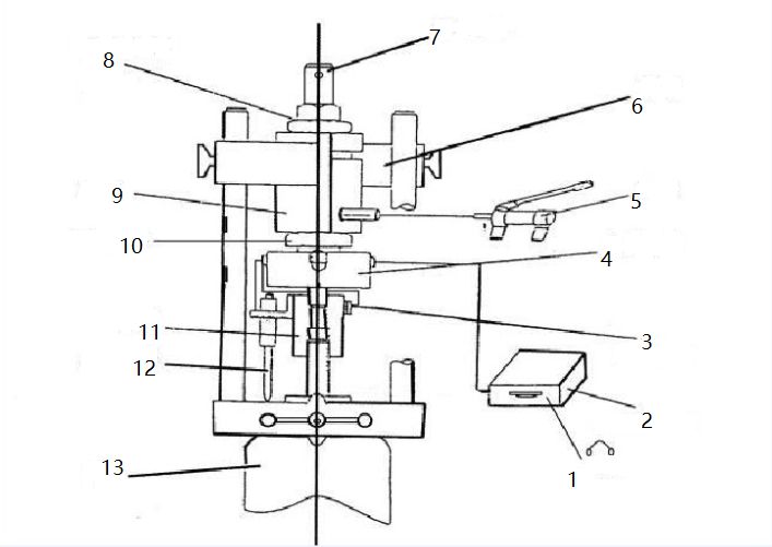
2.
【单选题】
下图为某公司安全阀在线调校仪结构图,图中“6”表示()?
A、螺纹千斤顶
B、限位—强关器
C、横梁
D、力传感器
点击查看答案
3.
【判断题】
减少安全阀启闭压差,上调整圈的调整方法是环向上逆时针转。( )
A、
正确
B、
错误
点击查看答案
4.
【单选题】
下图为某公司安全阀在线调校仪结构图,图中“3”表示()?
A、联接螺母
B、触点探针
C、拾音探头
D、力传感器
点击查看答案
5.
【单选题】
下图为弹簧式安全阀结构图,图中“11”()?
A、阀盖
B、阀体
C、阀座
D、阀瓣
点击查看答案
用
安考100分
拍照搜题更方便
拍照搜题
拉新好礼
顺序练题
模拟考试
试题属性
试题分类:
安全附件维修作业->F安全阀校验(点击去练题)
试题总数:
2195(道)
考试信息:
满分:100分 及格:100分 时长:90分钟
更新日期:
2025-12-26 09:20:14
题库推文
免费领取安考100分30日题库VIP
题库合作,欢迎机构入驻
推荐一款安全考试题库软件
2023年焊工考试技巧
成都开发考试题库微信小程序多少钱?
开发一个安全考试题库小程序需要些什么?
拍照搜题找答案推荐这款软件
2023年湖南省安全考试题库-国家题库
2023年低压电工考试题库-国家题库