题目内容(试题来至安考100分)

【单选题】 水管锅炉是指()在受热面管子外面流动的锅炉。

  1. A、水
  2. B、蒸汽
  3. C、烟气
  4. D、空气
参考答案:C

火管锅炉的结构中,燃烧产生的热气(烟气)在管子内部流动,而水则包裹在管子外部。当高温烟气经过管子时,热量通过管壁传递给外面的水,使其加热并产生蒸汽。因此,火管锅炉的特点是水在受热面的管子外面流动,而烟气在内部流动。选项中的其他物质(蒸汽、烟气、空气)与这一结构特点不符。【参考解析】

你可能需要的试题

1. 【单选题】 下图所示为弹簧式安全阀。()

  1. A、正确
  2. B、错误

2. 【单选题】 对于有过热器的锅炉,应保证()上的安全阀先开启。

  1. A、省煤器
  2. B、锅筒
  3. C、过热器
  4. D、水冷壁

3. 【单选题】 全自动软水器的盐罐内,通常应保持有()。

  1. A、6~8%的盐水
  2. B、4~6%的盐水
  3. C、过饱和的盐水
  4. D、8~10%的盐水

4. 【单选题】 根据《特种设备安全法》第五十二条 特种设备检验、检测工作应当遵守法律、行政法规的规定,并按照( )的要求进行。

  1. A、作业指导书
  2. B、操作规程
  3. C、安全技术规范
  4. D、实施细则

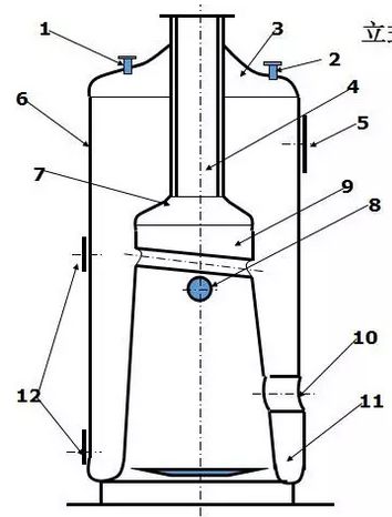
5. 【单选题】 下图为立式横水管锅炉示意图,其中部件10为()。

  1. A、炉胆顶
  2. B、炉胆
  3. C、横水管
  4. D、炉门

安考100分

拍照搜题更方便

  • 拍照搜题
  • 拉新好礼
  • 顺序练题
  • 模拟考试
安考100分小程序

试题属性