题目内容(试题来至安考100分)

【单选题】 ( )使用的特种设备的安全监察不适用《特种设备安全监察条例》。

  1. A、公共场所
  2. B、石油运输
  3. C、铁路机车
  4. D、石化生产
参考答案:C

这道题目考察的是《特种设备安全监察条例》的适用范围。根据条例规定,特种设备一般包括锅炉、压力容器、电梯、起重机械等,这些设备在公共场所(如电梯)、石油运输(如压力管道)、石化生产(如压力容器)中的使用均受该条例监管。而铁路机车相关的特种设备(如轨道车辆)通常由铁路行业单独管理,依据《铁路安全管理条例》等专门法规进行安全监察,因此不适用此条例。选项C符合这一特殊情形。【参考解析】

你可能需要的试题

1. 【单选题】 根据《特种设备安全法》第五条 国务院( )对全国特种设备安全实施监督管理。

  1. A、负责特种设备安全监督管理的部门
  2. B、负责安全生产的部门
  3. C、负责应急处置管理的部门
  4. D、负责国家安全的部门

2. 【单选题】 热水锅炉出水温度应低于运行压力下相应饱和温度(即锅水汽化温度)至少()℃以下。

  1. A、10
  2. B、20
  3. C、30
  4. D、400

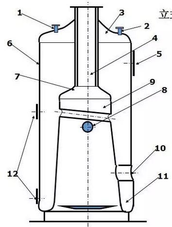
3. 【单选题】 下图为立式横水管锅炉示意图,其中部件6为()。

  1. A、人孔
  2. B、冲天管
  3. C、锅壳
  4. D、封头

4. 【单选题】 按《特种设备安全监察条例》:特种设备使用单位在对在用特种设备进行自行检查和日常维护保养时发现( )情况的,应当及时处理。

  1. A、严重
  2. B、一般
  3. C、危险
  4. D、异常

5. 【单选题】 《特种设备使用管理规则 》(TSG 08-2017)规定,特种设备使用单位的实际最高管理者,对其单位所使用的特种设备安全节能负( )。

  1. A、总责
  2. B、领导职责
  3. C、监督职责
  4. D、全部职责

安考100分

拍照搜题更方便

  • 拍照搜题
  • 拉新好礼
  • 顺序练题
  • 模拟考试
安考100分小程序

试题属性