安考100分
助客兴科技
首页
在线练题
快速搜题
机构入驻
首页
试题详情
网友您好,请在
下方输入框内
输入要搜索的题目:
查询
题目内容
(试题来至安考100分)
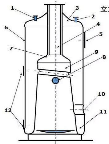
【单选题】
下图为单回路的自然循环示意图,其循环回路由()组成。
A、1-上升管.2-锅筒.3-蒸汽引出管.4-给水管.5-下降管.6-下集箱
B、1-下降管.2-锅筒.3-给水管.4-蒸汽引出管.5-上升管.6-下集箱
C、1-下降管.2-锅筒.3-蒸汽引出管.4-给水管.5-上升管.6-下集箱
D、1-上升管.2-锅筒.3-给水管.4-蒸汽引出管.5-下降管.6-下集箱
参考答案:
A
你可能需要的试题
1.
【单选题】
下图为单回路的自然循环示意图,其中部件5为()。
A、上升管
B、给水管
C、下降管
D、下集箱
点击查看答案
2.
【单选题】
下图为立式横水管锅炉示意图,其中部件3为()。
A、人孔
B、冲天管
C、锅壳
D、封头
点击查看答案
3.
【单选题】
下图为立式横水管锅炉示意图,其中部件4为()。
A、人孔
B、冲天管
C、锅壳
D、封头
点击查看答案
4.
【单选题】
下图为立式横水管锅炉示意图,其中部件6为()。
A、人孔
B、冲天管
C、锅壳
D、封头
点击查看答案
5.
【单选题】
下图为立式横水管锅炉示意图,其中部件7为()。
A、炉胆顶
B、炉胆
C、横水管
D、炉门
点击查看答案
用
安考100分
拍照搜题更方便
拍照搜题
拉新好礼
顺序练题
模拟考试
试题属性
试题分类:
G锅炉作业->G1工业锅炉司炉(点击去练题)
试题总数:
1907(道)
考试信息:
满分:100分 及格:100分 时长:60分钟
更新日期:
2024-06-04 14:23:06
题库推文
免费领取安考100分30日题库VIP
题库合作,欢迎机构入驻
推荐一款安全考试题库软件
2023年焊工考试技巧
成都开发考试题库微信小程序多少钱?
开发一个安全考试题库小程序需要些什么?
拍照搜题找答案推荐这款软件
2023年湖南省安全考试题库-国家题库
2023年低压电工考试题库-国家题库