题目内容(试题来至安考100分)

【单选题】 引起锅炉受热面结生水垢的离子是()。

  1. A、钙钠离子
  2. B、镁钠离子
  3. C、镁铁离子
  4. D、钙镁离子
参考答案:D

你可能需要的试题

1. 【单选题】 《中华人民共和国特种设备安全法》规定,违反本法规定,特种设备安全管理人员、检测人员和作业人员不履行岗位职责,违反操作规程和有关安全规章制度,( ),吊销相关人员的资格。

  1. A、造成后果的
  2. B、造成事故的
  3. C、造成不良影响的
  4. D、产生危害的

2. 【单选题】 TSG 08-2017《特种设备使用管理规则》规定定期检验完成后,使用单位应当组织进行特种设备( )的安装、试运行等工作, 并且对其安全性负责。

  1. A、管路连接
  2. B、密封、附件
  3. C、内件
  4. D、其他选项都是

3. 【单选题】 锅炉运行时应()。

  1. A、先开引风机
  2. B、先开鼓风机
  3. C、随便开鼓、引风机
  4. D、其他选项均不正确

4. 【单选题】 一台LSGO.5-0.7-AII型锅炉,其额定蒸发量是()。

  1. A、0.5t
  2. B、0.5t/h
  3. C、0.7t
  4. D、0.70/h

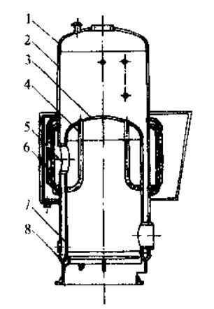
5. 【单选题】 下图所示锅炉型式为立式弯水管锅炉。()

  1. A、正确
  2. B、错误

安考100分

拍照搜题更方便

  • 拍照搜题
  • 拉新好礼
  • 顺序练题
  • 模拟考试
安考100分小程序

试题属性