题目内容(试题来至安考100分)

【单选题】 ( )使用的特种设备的安全监察不适用《特种设备安全监察条例》。

  1. A、公共场所
  2. B、石油运输
  3. C、风景景区
  4. D、船舶
参考答案:D

这道题目考察的是《特种设备安全监察条例》的适用范围。根据条例规定,特种设备一般包括锅炉、压力容器、电梯、起重机械等,这些设备在公共场所(如电梯)、石油运输(如压力管道)、石化生产(如压力容器)中的使用均受该条例监管。而铁路机车相关的特种设备(如轨道车辆)通常由铁路行业单独管理,依据《铁路安全管理条例》等专门法规进行安全监察,因此不适用此条例。选项C符合这一特殊情形。【参考解析】

你可能需要的试题

1. 【单选题】 按燃用燃料的品种不同,锅炉可分为().燃油锅炉.燃气锅炉等。

  1. A、燃煤锅炉
  2. B、燃无烟煤锅炉
  3. C、燃贫煤锅炉
  4. D、燃烟煤锅炉。

2. 【单选题】 安全管理员发现特种设备事故隐患,立即进行处理,情况紧急时,可以决定停止使用特种设备,并且及时报告本单位( )。

  1. A、安全管理负责人
  2. B、安全管理责任人
  3. C、最高管理者
  4. D、最高领导

3. 【单选题】 根据《特种设备安全法》:县级以上地方各级人民政府应当建立( ),及时协调、解决特种设备安全监督管理中存在的问题。

  1. A、特种设备安全协调办公室
  2. B、专门机构
  3. C、协调机制
  4. D、网络机制

4. 【单选题】 某公司1台DZG2-1.0-BMF在使用过程中,尾部排烟温度高达271℃,按照排烟温度每降低15℃,热效率提高1%来算,通过控制排烟温度,可显著提高锅炉的热效率,以下措施最有可能实现降低排烟温度的是()。

  1. A、锅炉尾部安装余热回收装置
  2. B、锅炉燃料品质较差,燃烧不充分
  3. C、锅炉积灰.结垢未处理
  4. D、操作人员调节风量不当

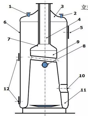
5. 【单选题】 下图为立式横水管锅炉示意图,其中部件5为()。

  1. A、人孔
  2. B、冲天管
  3. C、锅壳
  4. D、封头

安考100分

拍照搜题更方便

  • 拍照搜题
  • 拉新好礼
  • 顺序练题
  • 模拟考试
安考100分小程序

试题属性