安考100分
助客兴科技
首页
在线练题
快速搜题
机构入驻
首页
试题详情
网友您好,请在
下方输入框内
输入要搜索的题目:
查询
题目内容
(试题来至安考100分)
【单选题】
图为弹簧式安全阀的载荷示意图,当测试安全阀开启压力时()?
A、Fd=PoS
B、Fd>PoS
C、Fd≤PoS
D、Fd<PoS
参考答案:
A
你可能需要的试题
1.
【单选题】
校验单位在对一件客户刚购买送检的安全阀进行检查时,发现铭牌及资料显示阀门的使用介质是水,公称通径为DN15,整定压力为15.6MPa,阀门进出口带有WN型配对法兰,聚四氟乙烯缠绕垫圈和发蓝的螺栓螺母,配对法兰上滚压有如下字样“HG/T 20592 WN 15-200 RF φ14*3 ”,请问该法兰配置是否正确( )。
A、正确
B、错误
点击查看答案
2.
【判断题】
对于工作压力值>90%整定压力,而≤95%整定压力时,可以选用先导式安全阀。( )
A、
正确
B、
错误
点击查看答案
3.
【单选题】
图为弹簧式安全阀的载荷示意图,当测试安全阀密封压力时()?
A、Fd≥PoS
B、Fd>PoS
C、Fd≤PoS
D、Fd<PoS
点击查看答案
4.
【判断题】
对于工作压力值>90%整定压力,而≤95%整定压力时,可以选用弹簧载荷式安全阀。( )
A、
正确
B、
错误
点击查看答案
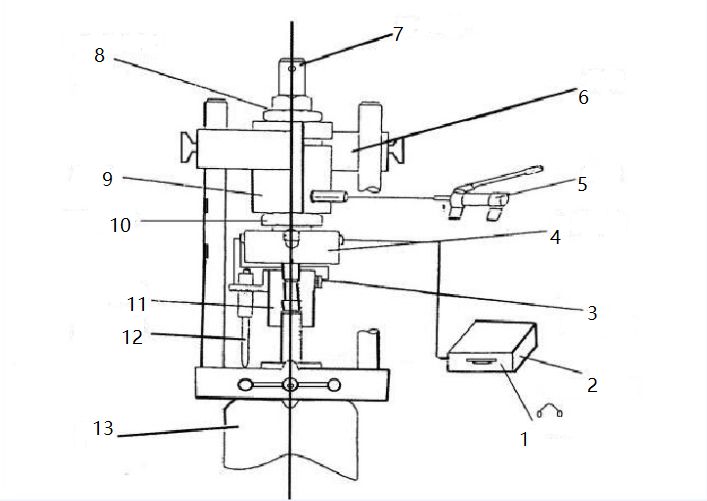
5.
【单选题】
下图为某公司安全阀在线调校仪结构图,图中“6”表示()?
A、螺纹千斤顶
B、限位—强关器
C、横梁
D、力传感器
点击查看答案
用
安考100分
拍照搜题更方便
拍照搜题
拉新好礼
顺序练题
模拟考试
试题属性
试题分类:
安全附件维修作业->F安全阀校验(点击去练题)
试题总数:
2195(道)
考试信息:
满分:100分 及格:100分 时长:90分钟
更新日期:
2025-12-26 09:20:14
题库推文
免费领取安考100分30日题库VIP
题库合作,欢迎机构入驻
推荐一款安全考试题库软件
2023年焊工考试技巧
成都开发考试题库微信小程序多少钱?
开发一个安全考试题库小程序需要些什么?
拍照搜题找答案推荐这款软件
2023年湖南省安全考试题库-国家题库
2023年低压电工考试题库-国家题库