安考100分
助客兴科技
首页
在线练题
快速搜题
机构入驻
首页
试题详情
网友您好,请在
下方输入框内
输入要搜索的题目:
查询
题目内容
(试题来至安考100分)
【单选题】
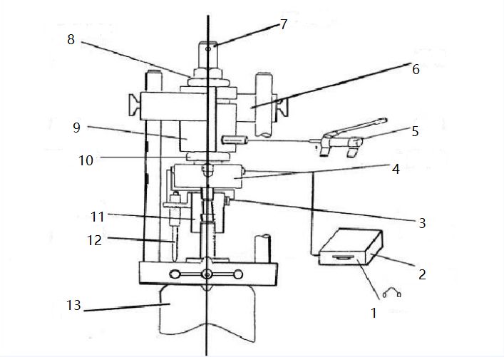
下图为某公司安全阀在线调校仪结构图,图中“9”表示()?
A、力传感器
B、限位—强关器
C、螺纹千斤顶
D、油缸
参考答案:
D
你可能需要的试题
1.
【单选题】
下图为先导式安全阀结构图,图中“4”表示()?
A、活塞
B、主阀阀座
C、主阀阀体
D、主阀阀芯
点击查看答案
2.
【单选题】
下图为某公司安全阀在线调校仪结构图,图中“4”表示()?
A、油缸
B、限位—强关器
C、螺纹千斤顶
D、力传感器
点击查看答案
3.
【单选题】
安全阀密封面采用D507焊条堆焊,哪个说法是正确的( )。
A、必须采用直流焊机
B、必须采用反极性接法
C、焊条施焊前应烘干
D、其他选项全是
点击查看答案
4.
【单选题】
已知一只安全阀采用在线定压仪校验,安全阀的入口压力为1.6MPa时,拉开定压至整定压力,此时附加提升力为3500N;在其入口压力1.8MPa时,拉开定压至整定压力,此时附加提升力为2495N,请计算此时安全阀的整定压力是( )?密封面的有效直径是( )?
A、整定压力2.3MPa,密封面有效直径50mm
B、整定压力2.5MPa,密封面有效直径50mm
C、整定压力2.3MPa,密封面有效直径80mm
D、整定压力2.3MPa,密封面有效直径80mm
点击查看答案
5.
【单选题】
按国家标准设计、制造的安全阀,其公称通径与阀门的流道直径存在一定的对应关系。型号A48Y-40 DN80的安全阀流道直径是()。
A、80
B、65
C、50
D、40
点击查看答案
用
安考100分
拍照搜题更方便
拍照搜题
拉新好礼
顺序练题
模拟考试
试题属性
试题分类:
安全附件维修作业->F安全阀校验(点击去练题)
试题总数:
2195(道)
考试信息:
满分:100分 及格:100分 时长:90分钟
更新日期:
2025-12-26 09:20:14
题库推文
免费领取安考100分30日题库VIP
题库合作,欢迎机构入驻
推荐一款安全考试题库软件
2023年焊工考试技巧
成都开发考试题库微信小程序多少钱?
开发一个安全考试题库小程序需要些什么?
拍照搜题找答案推荐这款软件
2023年湖南省安全考试题库-国家题库
2023年低压电工考试题库-国家题库