题目内容(试题来至安考100分)

【单选题】 我中心使用的安全阀在线校验仪(DN50)力的输出为F=1143.8×P-335(F的单位为N、P单位为MPa),测试时安全阀阀芯平均直径40mm、系统压力为1.2 MPa,待测安全阀的整定压力为1.6MPa,则安全阀起跳瞬间油压约为( )MPa。

  1. A、1.0
  2. B、0.73
  3. C、0.62
  4. D、0.66
参考答案:B

你可能需要的试题

1. 【单选题】 我中心使用的安全阀在线校验仪(DN100)力的输出为F=5077×P-503(F的单位为N、P单位为MPa),测试时安全阀阀芯平均直径80mm、系统压力为1.2 MPa,待测安全阀的整定压力为2.2MPa,则安全阀起跳瞬间油压约为()MPa。

  1. A、1.20
  2. B、1.00
  3. C、1.09
  4. D、1.12

2. 【单选题】 常规用于蒸汽、水、空气且工作温度低于( )时,阀体一般选用WCB碳钢材料。

  1. A、250℃
  2. B、300℃
  3. C、350℃
  4. D、450℃

3. 【单选题】 对于主管道可能有压力源或不稳定的介质流时,安装主管道的规格应比进口管道( ),并有足够的圆角以减少紊流和流阻。

  1. A、大
  2. B、小
  3. C、相等
  4. D、无影响

4. 【单选题】 当安全阀的背压力大于整定压力的50%时,应选择()。

  1. A、普通(非平衡)式安全阀
  2. B、平衡式安全阀
  3. C、先导式安全阀
  4. D、带补充载荷的安全阀

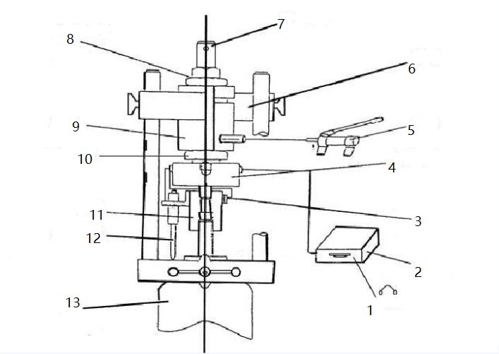
5. 【单选题】 下图为某公司安全阀在线调校仪结构图,图中“9”表示()?

  1. A、力传感器
  2. B、限位—强关器
  3. C、螺纹千斤顶
  4. D、油缸

安考100分

拍照搜题更方便

  • 拍照搜题
  • 拉新好礼
  • 顺序练题
  • 模拟考试
安考100分小程序

试题属性